Join Our Team!
Cart
0
Your cart is currently empty. Why don't you add something to it?
🔐 Please log in to view discounted prices.🏷️

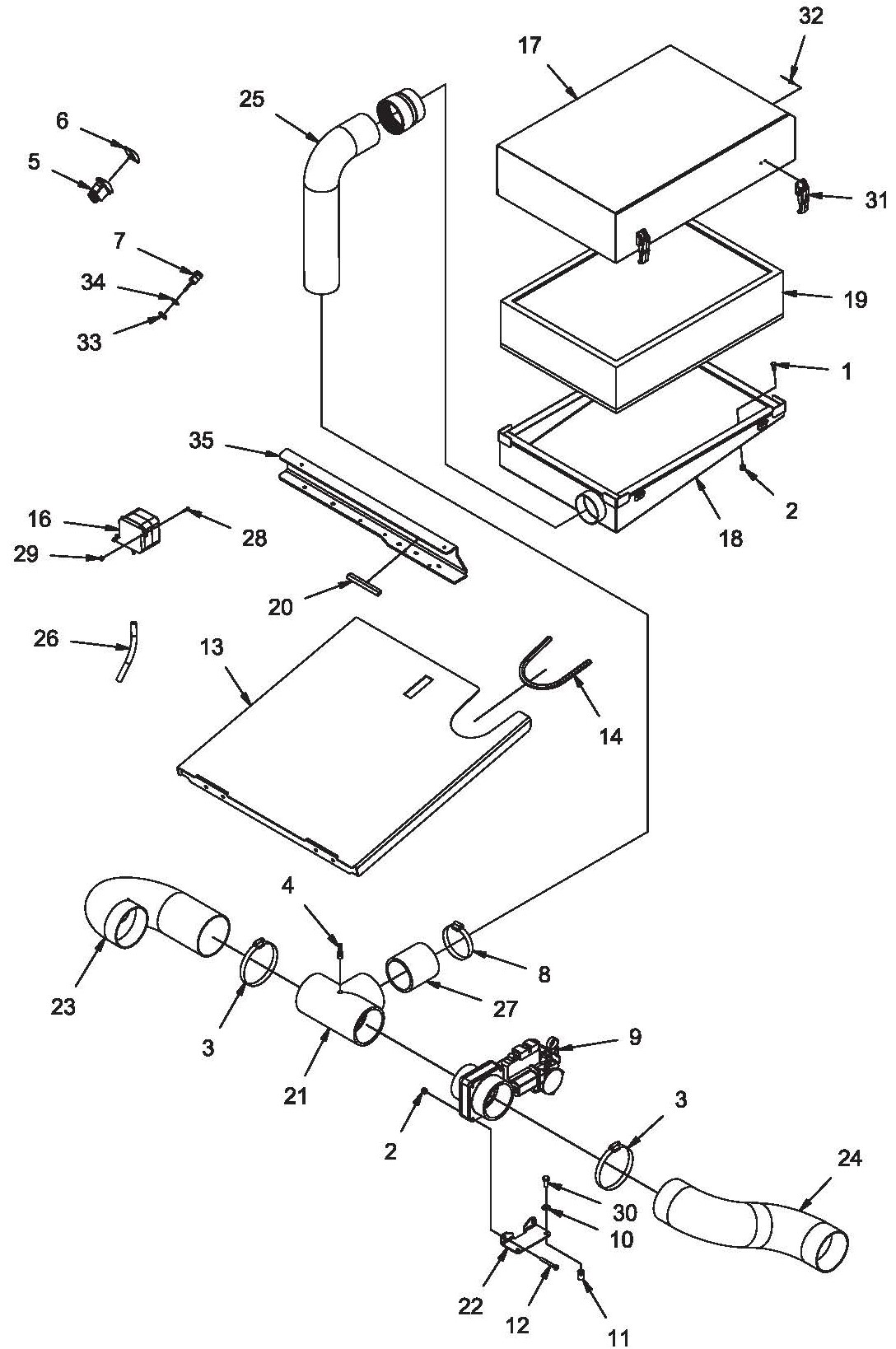
PowerBoss Atlas - MERV Filter

×
GridList18 items
    Product Name   Item #   Price   Select Qty 
    #1 - Blt-Hh M6 X 1.0 X 16 Stl Zinc Dich 8.8 Din 933 PB11038072  $1.08 
    #2 - Nut-Nyloc M6 X 1.0 Stl Zinc Dich CL6 Din 985 PB12040044  $1.38 
    #3 - Clamp-Hose 4 1/2" Dia PB3300351  $2.97 
    #5 - Switch, Main Broom PB3332713  $58.23 
    #6 - Cover-Switch, Carling, Black W/Lens PB3342273  $3.42 
    #8 - Clamp PB3343273  $4.99 
    #11 - M8 - 125 Insert 188 Grip Stl Zp PB600852  $1.48 
    #12 - Bolt M6-100 X 50 Hh Ss PB600953  $1.11 
    #13 - Weldment Top Cover Hd Air Cleaner PB620166  $507.38 
    #17 - Weldment Filter Cover PB690636  $358.69 
    #18 - Weldment Filter Base PB690640  $466.23 
Hepa Filter, Merv 17   #19 - Hepa Filter, Merv 17 PB690642  $576.57 
    #25 - Hose 3.00 Filter 9 Ft PB690669  $20.28 
    #29 - Nut-Nyloc 6-32 Zp PB711371  $1.08 
Latch, Under Center   #31 - Latch, Under Center PB730652  $41.21 
    #32 - Rivet-Blind 5/320125 Grip Ss PB730654  $1.08 
Assy-Light Warning Red   #33 - Assy-Light Warning Red PB3342905  $38.24 
    --- Connector-Packard 2 Pin Male PB748020  $5.50 
18 items